产品列表
无锡银洲自动化设备厂
地址:无锡市惠山区阳山镇恒通东路1号
电话:0510-83690913
联系人:周经理
手机:13861873395
网址:www.wxyzzdh.com
| 节流孔板 |
|
孔板流量计是将标准孔板与多参数差压变送器(或差压变送器、温度变送器及压力变送器)配套组成的高量程比差压流量装置,可测量气体、蒸汽、液体及引的流量,广泛应用于石油、化工、冶金、电力、供热、供水等领域的过程控制和测量。节流装置又称为差压式流量计,是由一次检测件(节流件)和二次装置(差压变送器和流量积算仪)组成广泛应用于气体。蒸汽和液体的流量测量。具有结构简单,维修方便,性能稳定
二、工作原理
节流装置测量流量的原理是依据著名的伯努力流体力学原理。在管道中安放一只节流件,有流体流过节流件时,会在节流件两侧产生一个压力差(差压P),这时的流量与差压的平方根成正比。(可以参考孔板流量计工作原理视频)
三、用途、特点及适用范围
1、用途:节流式差压流量计由三部分组成:节流装置、差压变送器和流量积算仪。节流装置是直接安装于管道上的一次元件,差压变送器和积算仪属于二次元件。它主要用于流经管道各种气体(纯净的或含粉尘的)、蒸汽(饱和或过热)和液体(导电或不导电;强腐蚀性;粘稠或含有微小颗粒脏污)流量。可直接测量体积流量或质量流量。
2、差压式流量计(标准孔板)的使用条件、特点及适用范围
a、使用条件:
1、在测量段,流体必须充满圆管,并连续不断地流经节流装置;
2、流体在物理上和热力学上必须是均匀的单相流体;
3、节流装置所测得流体必须是稳定流,或可看作是稳定的缓慢变化的流体,不适用于脉动流和临界的流量测量;
b、特点及适用范围:
1、标准节流装置无须实流标定即可保证其测量精度。(在所有流量计中是唯一的);
2、适用被测介质非常广泛,几乎可用于所有气体、蒸汽和液体的流量测量;
3、适用直径比β为0.22~0.75,雷诺数ReD≥5000 管道直径DN50~1000mm,允许外推到5000mm。β=d/D,d—孔板开孔直径;D—管道实际内径
4、使用压力可高达32MPa,也可用于负压;
5、介质温度范围:-30℃~+650℃;
6、智能型差压式流量计采用智能差压变送器,可根据被测对象流量的变化,通过按键或通讯方式现场设定差压值(规定范围内),从而改变流量范围,使系统流量范围度大大拓宽;
7、无可动部件,机构安全可靠,使用、操作简单、易掌握,免维修;
根据中华人民共和国国家标准GB/T2624-93 和国际标准ISO5167-1 规定,节流装置适用的流量量程比为3(即最大与最小适用流量之比),在个别情况下允许量程比为4,如果量程比大于上述值,则在使用同一台差压计时在小流量时的测量误差很大。
四、分类及结构简图
1、分类
①按法兰夹装方式分类
1、焊接式 2、法兰夹装式
②按取压方式分类
1、角接钻孔取压; 2、角接环室取压 3、法兰取压; 4、径距取压;
2、结构及简图
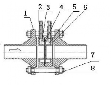
① 图 1标准环室孔板节流装置结构图
1、 法兰 2、导压管 3、前环室 4、节流件 5、后环室 6、密封垫片 7、螺栓 8、螺母
相关标签:风速风量测量装置,防堵风压吹扫装置,气源净化装置,氧化锆氧量分析仪,锅炉液位计
时间:2020-09-04 00:00:00
相关新闻
- 2026-01-30· 硬管吹扫技术:重塑工业管道清洁的可靠性标准
- 2026-01-29· 旋风分离,持久通畅:防堵取样器如何革新工业准确测量?
- 2026-01-28· 双室平衡容器:锅炉系统精准守护安全与效率
- 2026-01-27· 氧化锆分析技术在工业气体监测中的应用研究
- 2026-01-26· 智能分配,准确调控:气源分配器如何提升工业气体系统效能
- 2026-01-24· 多点防堵型测风装置:复杂工况下的准确监测解决方案







